ホームページ

索引

 

 

 

 

 

 

←前

次→

探求心_06

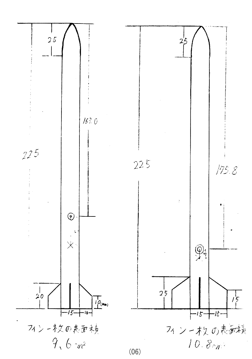
機体寸法

ホームページ

索引

 

 

 

 

 

 

←前

次→

探求心_06

機体寸法